Римские шторы занимают достойное место среди всех возможных типов штор благодаря своей изящности и функциональности. Они мягко рассеивают дневной свет, поступающий в комнату. Этими шторами можно украсить любую комнату — спальню, детскую, кухню и другие помещения с окнами.
Lutron произвел революцию в дизайне Римских штор введя технологию безопасности Cerus.
Эта запатентованная инновация заменяет шнуры традиционных римских штор отвесными полосами захвата.
Такая конструкция обеспечивает более безопасный ход штор, устраняя открытые внутренние нити, которые могут представлять опасность удушения для маленьких детей. Также повышена надежность, удалив возможность спутывания шнуров, и производительность, обеспечивающая более тихий и более плавный ход.
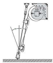
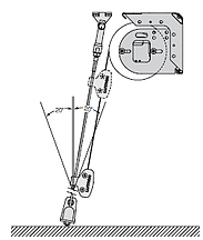
Одно- и двухсторонние карнизы с приводом.
Изгиб и длина карниза - индивидуальны.
Максимальная длина - 9 м.
Максимальный вес ткани - до 75 кг.
Изгиб карниза до 90°.
Ручное и автоматическое открытие.
Любая подходящая ткань приобретается отдельно.





Виды изгиба карнизов:
1.
2.
3
4.










Карнизная система штор с возможностью ручного открывания выдерживает нагрузку до 30 килограммов.
С кнопочных панелей или пульта шторы можно полностью открыть, закрыть или остановить на середине, чтобы обеспечить проникновение солнечного света на необходимом уровне.
Если потянуть ткань двигатель автоматически запуститься и откроет или закроет шторы в зависимости от того, в какую сторону потянули.
Преимущества системы:
Впервые в отрасли совершенно новый вид моторизированных занавесей -плавное поднятие занавесей одним нажатием кнопки.
Kirbé предлагает широкий выбор тканей, который варьируются от традиционных нейтральных тонов до ярких мерцающих узоров.
Дополнительный роллер интегрируется с системой Kirbé, чтобы обеспечить большую затененность и приватность.
Оригинальные роллеры Lutron - оснащены сверх тихим электронным приводом (до 44Дб на расстоянии 1 м) с точным позиционированием (до 1,5мм) штор и плавным ходом.
Каждая штора выполняетя по индивидуальным параметрам окна, включает в себя почти бесшумный привод и специальную ткань, в зависимости от назначения роллера.
Гоизонтальные и наклонные шторы










Плиссированные шторы QS Triathlon - это беспроводное управление электро-шторами на батарейках полноценной моторизированной шторы.
Уникальность конструкции штор заключается в отсутствии проводов для питания и управления. Заряда батареи хватает на 3-5 лет эксплуатации.
Большая коллекция тканей.
Различная степень затемнения (от 3 до 100%).
Максимальные размеры 2,43 м в ширину на 2,43 м в высоту
Шторы доступны в различных вариантах пропускания света, а также разных цветов и текстур.





Прозрачная
Дизайнерская ткань, которая пропускает дневной свет, а также позволяет видеть
сквозь.





Светопропускающая
Эта ткань проускает свет в помещение, но огрничивает видимость сквозь нее. Бывает одно- и двух-слойной.





Затеняющая
Используется специальная затеняющая подкладка, которая не пропускает солнечный свет, и блокирует видимость сквозь занавесь. Доступны только в однослойном стиле.
Жалюзи являются привлекательным и эффективным способом для обеспечения конфиденциальности, позволяя дневному свету проникать в пространство.
Независимый контроль подъема и наклона дополняет плавное, тихое движение, сохраняя равномерное расположение соседних жалюзи.
Жалюзи Lutron имеют несколько вариантов заданного положения и наклона для максимальной производительности и стиля.
Виды карнизов:





Стандарт





Гарвард





Королевский









